电脑知识网4月14日消息,知名科技博主何同学因分享自己处理网约车司机索要好评的经历引发争议。
在这则引发争议的微博里,何同学提到,过去他面对司机的好评请求会口头答应但事后遗忘,如今改为直接拒绝,作为一个有讨好倾向的人,这是我锻炼真诚和勇气的方式。
这条微博发布后引发广泛争议,不少网友模仿何同学前述微博,写了一段拒绝“一键三连”的文字表达讽刺。

第三方数据平台显示,何同学社交平台账号一夜掉粉过万,目前本人已删除涉事微博,暂未做出公开回应。
值得注意的是,这是继去年被质疑抄袭后,何同学再度陷入舆论漩涡,去年11月,何同学发布了《我用36万行备忘录做了个动画…》视频,他声称“我们专门写了一个软件”,网友质疑其抄袭,随后何同学就该事件致歉。
公开资料显示,何同学本名何世杰,山西太原人,数码科技类自媒体博主。
天眼查显示,何世杰担任杭州何同学文化传媒有限公司法定代表人及股东,该公司最新名称为“杭州几盒数字文化创意有限公司”,其成立于2020年12月,注册资本50万人民币,经营范围包括网络文化经营,数字内容制作服务,个人互联网直播服务等。
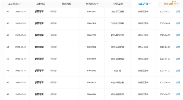
目前,该公司已成功注册多个“何同学”商标,国际分类包括科学仪器、通讯服务、网站服务、教育娱乐等。


文章来自互联网,不代表电脑知识网立场。发布者:,转载请注明出处:https://www.pcxun.com/n/426200.html
