在汽车引擎的世界里,V12 发动机一直被誉为 “皇冠上的明珠”。但随着排放法规日益严苛,以及混合动力技术的兴起,传统 V12 面临着体积庞大、效率不足的挑战。法拉利近日公布的一项专利,为 V12 的未来指明了一条激进的进化之路 —— 通过椭圆形活塞和创新机械结构,让这台传奇引擎实现 “瘦身”。
椭圆形活塞:从圆形到 “药片” 的突破
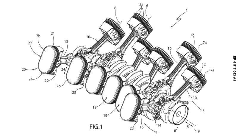
传统的圆形活塞如同规整的华尔兹,在气缸内重复着百年不变的舞步。而最近法拉利的工程师们为V12编辑全新舞步,就是在气缸里原来圆形活塞,变成了椭圆形活塞,进气门与排气门在椭圆活塞采用了长边扁平,短边保持圆弧,而非完全的圆形设计。通过这种设计,法拉利得以将气缸间距缩短,从而压缩发动机整体长度。
与本田曾尝试的椭圆形活塞 V4 不同,法拉利的V12活塞旋转了 90 度,使得燃烧室布局更紧凑。这种设计不仅减少了发动机体积,还为增加气门面积创造了可能 —— 更大的进排气门意味着更高的进气效率,进而提升动力输出。
曲轴与连杆的全新设计
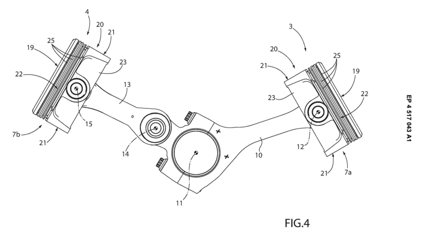
为配合椭圆形活塞,法拉利重新设计了曲轴和连杆结构。在传统 V12 中,对向气缸的连杆共享一个曲轴轴颈,但因安装角度问题,导致发动机长度增加。而新设计中,左侧气缸的连杆通过一个特殊的 “连杆帽” 与右侧连杆相连,左侧活塞的连杆更短,并通过独立销轴固定在连杆帽上。
这种布局使得对向气缸在俯视图中呈平行排列,而非传统的微小偏移。这一改动不仅进一步缩短了发动机长度,还可能减轻旋转部件的重量,提升高转速下的响应速度。此外,活塞裙部的 “凹腔” 设计减少了与气缸壁的摩擦,尤其在高转速时,能显著提升机械效率。
更小、更轻、更高效
通过创新,法拉利 V12 的长度有望大幅缩短。这带来了多重优势:车辆布局优化:经过全新设计V12发动机缩小了25%,更小的发动机舱可腾出空间用于混合动力系统,例如在发动机和变速箱之间安装电动机,实现性能与效率的双赢。排放与性能平衡:同时紧凑的结构可以降低内部摩擦,结合混合动力技术,帮助法拉利满足日益严格的排放法规,同时保留 V12 的标志性声浪和动力。高转速潜力:轻量化的旋转组件和优化的气门设计,可能让这台 V12 在高转速区间释放更强动力,延续法拉利的赛道基因。
未来展望:专利背后的野心
目前,法拉利尚未确认是否会将这一设计投入量产。专利申请更多是为了保护技术,防止竞争对手抄袭。但不可否认的是,这种创新思路为 V12 的生存提供了新可能。在电动化浪潮下,传统内燃机正面临淘汰危机,而法拉利的 “瘦身” V12 或许能证明:通过技术革新,燃油引擎仍可在新时代占有一席之地。
如果这台椭圆形活塞 V12 最终问世,它不仅是法拉利工程实力的体现,更是对汽车工业 “渐进式创新” 的一次挑战。毕竟,在追求环保与效率的今天,敢于对经典进行颠覆性改造,本身就是一种勇气。
文章来自互联网,不代表电脑知识网立场。发布者:电脑知识网,转载请注明出处:https://www.pcxun.com/n/402345.html
