在分析MPV车型品牌销量数据的时候,有不止一位网友提出将五菱宏光放在榜单里不恰当;因为这款车是“面包车”而其他车辆才是MPV,所以这样的解读是没有意义的。

你是否也这么认为?
然而这样的榜单是没有任何问题的,五菱宏光是标准的MPV;只不过是产品定位比较低的多用途车。可是并不能因其售价低就否定其车型属性,这就像是三百元的山地自行车是山地自行车、三万元的山地自行车也是山地自行车的道理一样,不应该以价格否定其特性和存在的价值。

同时从车型特点的角度也是可以分析出正确答案的,MPV车型翻译过来就是多用途车;而面包车翻译过来应当叫做“小型客车,”因为面包车的英文名称叫做MINI BUS,迷你本就是一个音译舶来词。所以面包车的特点就是小,其尺寸可参考的车型主要以采用中置后驱平台的车辆为主,比如五菱之光、长安之星、东风小康、一汽佳宝等;车身尺寸普遍低于4000*1650*1800毫米,发动机排量则多小于1.0L(升),符合国内法规对微型车的定义,所以也被老司机叫做“微面(微型面包车)。”
那么MPV在这一方面到底有什么不同呢?

既然谈到尺寸和排量则差异必定在这两方面,MPV的尺寸普遍在4500*1750*1800毫米左右起步,参考车型有大众途安、五菱宏光、长安欧尚、比亚迪宋MAX、吉利嘉际等;发动机的排量则在1.0L以上,普遍采用1.5L~2.0L排量的发动机。
同时车辆驱动平台一定是前置前驱或前置后驱,车头有独立的发动机舱,有一个较长的车头;而中置后驱的发动机在前排座椅的下方或中间凸起的位置;两种不同的驱动方案会有截然不同的驾乘体验,主要差异在于噪音、温度和振动程度。

五菱宏光的车身尺寸达到了MPV的标准,同时也采用了标准的前置后驱平台,所以这款车当然是MPV;只不过是价格低了一些;有些汽车爱好者会有以价格论车型的坏习惯,这是不好的;但客观上也不是所有司机都有这种主观恶意,依然认为五菱宏光是面包车的原因主要是五菱汽车曾经是面包车市场里的顶流品牌,市场占有率非常高,于是就有了这样的品牌认知,这就不能说是错了。

销量和前景
第一节讲解了MPV和面包车的差异,相信读者们已经懂得两类车型的不同。
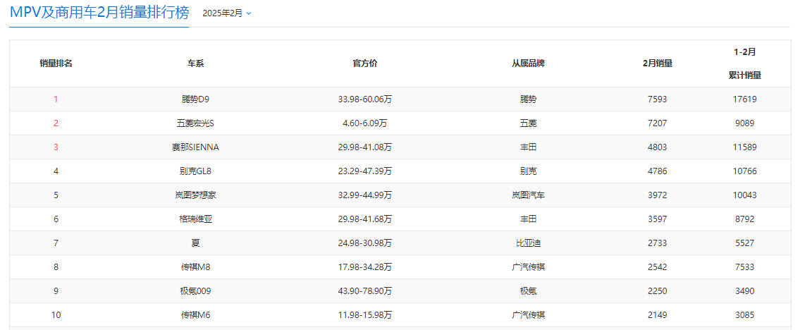
但是对于面包车的现状可能会缺乏足够的了解,面包车的市场空间在大幅压缩;即便是五菱宏光S系列MPV的销量也大不如前,该车巅峰期单月销量可以达到七至八万辆——注意是一个月的销量而非一年!可是现在的销量是下面这样的。
2025年2月入门级MPV和面包车的零售销量(公开资料)为:
五菱宏光S,7207辆长安欧诺S,1535辆北汽制造王牌M7,894辆江淮瑞风M3,796辆东风风行菱智,743辆鑫源金海狮,683辆福田风景G5,378辆五菱征程,281辆江淮瑞风E3,204辆东风风光380,175辆
就看TOP 10吧,前十名里的面包车几乎没有了;剩下的基本都是入门级MPV。可是五菱宏光S和其他车辆的同期零售销量依然有很大的差距,这个结果可以说明五菱汽车在这一市场的领先优势,但也能同样说明整个入门级MPV、或称之为“进化级面包车”的市场空间在塌缩。

为何会这样呢?
简而言之,入门级MPV在功能性上实际还与面包车相当,主要用途还是偏商用(客货两用)的;但是面包车和其他乘用车都是严格禁止客货混装的,可是这种车型从诞生之初就是这么用,司机们已经习惯了这种错误的用车方法——早期在汽车保有量较小的阶段里,面包车客货混装一般不会出现问题;但随着汽车保有量的激增,客货混装的面包车在制动性能和操控水平上的短板就被凸显出来了——车辆发生交通事故的概率会更高,客货混装又会造成较为严重的后果。其次还有超员超载的普遍情况,一辆面包车的交通事故甚至可能造成群死群伤的巨大代价!结果可想而知。面包车成为查客货混装和超员超载的重点关注对象,至此面包车的功能性大幅缩水了。

或者说面包车已经不再是理想的工具车型。
所以面包车的销量只会越来越低,能够替代这种车型的客货两用车只有皮卡;但是皮卡的制造成本偏高,目前还没有做到售价完全重叠面包车和入门级MPV。
状况就是这样。
笔者建议面包车生产企业全数转型打造乘用级多用途车,转向K级车领域;入门级MPV有必要保留但不应当是主营车型,打造一些同级皮卡车是有必要的。

文章来自互联网,不代表电脑知识网立场。发布者:电脑知识网,转载请注明出处:https://www.pcxun.com/n/396898.html
