电脑知识网2月5日消息,据灯塔专业版数据,截至2月5日19时11分,影片《哪吒之魔童闹海》票房突破54.14亿元,超过《你好,李焕英》进入中国影史票房榜前三,同时成为中国影史春节档票房冠军。
这部电影由饺子编剧并执导,据了解,饺子本名杨宇,1980年出生于四川省泸州市,毕业于四川大学华西药学院。

2008年,杨宇执导的个人首部动画短片《打,打个大西瓜》播出;2015年,杨宇与20多家特效团队、60多家制作公司一起制作《哪吒之魔童降世》;2019年7月,杨宇执导的动画电影《哪吒之魔童降世》上映。

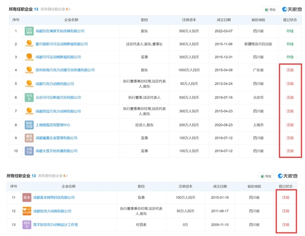
天眼查显示,杨宇名下关联13家企业,其中3家为存续状态,包括成都自在境界文化传媒有限公司、霍尔果斯可可豆动画影视有限公司、成都可可豆动画影视有限公司,其余多家企业已注销,杨宇在上述公司分别担任董事长、监事等职务。
值得注意的是,由杨宇持股51%的成都自在境界文化传媒有限公司已登记多个《哪吒之魔童闹海》相关作品著作权。

文章来自互联网,不代表电脑知识网立场。发布者:下一站下车,转载请注明出处:https://www.pcxun.com/n/351714.html
