电脑知识网8月5日消息,企查查APP显示,近日,锤子科技(成都)股份有限公司新增两则被执行人信息,执行标的分别为714.68万、1428.18万,执行法院为北京市海淀区人民法院。
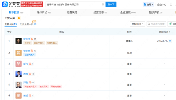
据悉,该公司成立于2012年5月,由罗永浩担任董事长并持股约22.67%。


6月底,罗永浩与紫辉创投CEO郑刚“1500万借款”纠纷二审判决落地,郑刚在视频号上放出了判决书全文。
判决书显示,北京市第一中级人民法院驳回了锤子科技(成都)股份有限公司的上诉请求,维持原判。
5月18日,郑刚曾发视频称与锤子科技借款1500万的诉讼已经打赢,法院刚判下来。
锤子科技被判令偿还借款1500万元,并按照年利率6%支付利息,承担诉讼费共计约12.7万元。
郑刚称锤子方面觉得6%利率高,随后,锤子科技提起上诉。
据悉,郑刚与罗永浩的公开矛盾始于2023年1月,他发文炮轰罗永浩拖死锤子、不懂感恩,之后又多次公开指责。
此后,罗永浩发布万字长文,详细表明了事件始末。
罗永浩文中介绍,锤子科技和郑刚确实有1500万元借款,并且到期未还,主要理由是作为锤子科技投资人的郑刚发起了无赖诉讼回购,并且在网络上“造谣诽谤”。

文章来自互联网,不代表电脑知识网立场。发布者:,转载请注明出处:https://www.pcxun.com/n/788464.html
