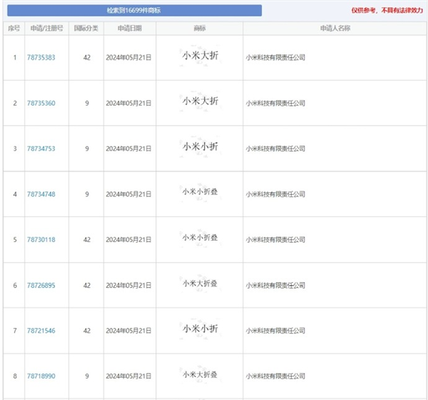
科技号6月11日消息,来自中国商标网的信息显示,小米已提交“小米小折叠”、“小米大折叠”等8个折叠屏相关商标的申请。

相关页面显示,上述商标申请日期均为2024年5月21日,申请人为小米科技有限责任公司,包括“小米大折”“小米小折”“小米小折叠”“小米大折叠”等。
据此前消息,小米全新一代折叠屏旗舰MIX Fold 4已经入网,认证显示该机将支持天通卫星通信。

据爆料,MIX Fold 4预计会在7-8月份登场,搭载高通骁龙8 Gen3处理器。
至于小折叠,小米第一款小折叠MIX Flip已经现身IMEI数据库,这款设备将在全球上市发售。

从曝光的谍照来看,小米MIX Flip的A面分为两部分,上层为双摄模块,搭配双闪光灯,印有徕卡标识。
下方为一块大尺寸的外屏,预计在功能、交互上带来更多新玩法,同时适配的第三方软件也会更加丰富。

此前,小米MIX Flip已经正式入网,支持67W快充,预计将搭载骁龙8 Gen处理器。
预计,该机将于近期发布。
文章来自互联网,不代表电脑知识网立场。发布者:GeekPwn,转载请注明出处:https://www.pcxun.com/n/123544.html
